Корпус розетки имеет одно входное отверстие для провода, шириной - 12мм; высотой 13,5 - 14мм....
официальный сайт производителя
официальный сайт производителя
В корзине:
ВЫКЛЮЧАТЕЛЬ (ПЕРЕКЛЮЧАТЕЛЬ) ПОВОРОТНЫЙ КЕРАМИЧЕСКИЙ для открытой проводки под ретро-стиль.
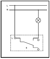
Данный выключатель может работать как одноклавишный (ВКЛ-ВЫКЛ), так и как проходной (может использоваться, например, на лестнице между этажами для управления одним светильником из двух разных мест в доме), т.к. механизм (схема 6) является универсальным.
Цвет: Слоновая кость
Размеры: d = 68 мм; h = 65 мм; с подрозетником d = 80 мм
Материал: Корпус - электрофарфор (глазур.). Качественный механизм выключателя выполнен из термостойкого пластика. Подрозетник - дерево (береза).
ВНИМАНИЕ! Однопостовый деревянный подрозетник (плоский) входит в комплект к каждому изделию.
Корпус розетки имеет одно входное отверстие для провода, шириной - 12мм; высотой 13,5 - 14мм....
РЕТРО-РОЗЕТКА для открытой проводки под ретро-стиль.
Корпус розетки имеет одно входное...
ЕВРОРОЛИК (ИЗОЛЯТОР) КЕРАМИЧЕСКИЙ для открытой проводки предназначен для крепления декоративного...